熱門搜索:
產品介紹
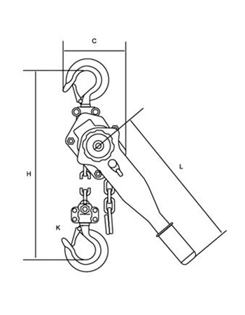
VL型手扳葫蘆是一種輕小型,多用途手動起重、牽引機械。新型、高效、安全、耐用具有起重、牽引、張緊三大功能,整機結構設計合理,安全系數高,使用壽命長,特別適用于野外無動力源狀況下。VL型手扳葫蘆適用于工廠、礦山、建筑工地、碼頭、運輸等各種場臺,是設備安裝、貨物起吊、物體固定、綁扎和牽引的理想工具,尤其是任意角度的牽引和在場地狹小,露天作業和無電源的情況下,更顯示其優越性。
產品簡介:
VL型手扳葫蘆是一種輕小型,多用途手動起重、牽引機械。新型、高效、安全、耐用具有起重、牽引、張緊三大功能,整機結構設計合理,安全系數高,使用壽命長,特別適用于野外無動力源狀況下。


